¿Qué es muestreo y su importancia?
Como definición, es la acción de tomar muestras de una partida para determinar las características de un conjunto, seleccionar una pequeña parte para definir su valor.
En base a esta definición, entendemos la importancia de realizar una toma de muestras lo más representativa posible de las partidas a muestrear en base al estado/situación de las mismas.
Hay que tener en cuenta, y no se nos debe de olvidar, que la base del muestreo dará como resultado la valoración de las partidas/materiales muestreados, y simplificando el resultado del muestreo se va a traducir en millones de euros. El muestreo es el inicio de la viabilidad de una partida.
La toma de muestras debe ser equi-probabilística, todos los resultados tienen la misma posibilidad de ocurrir.
Por lo tanto, todo muestreo debe de garantizar la representatividad y homogeneidad de un lote de concentrado, ¿cómo logramos esto?, implantando un método de muestreo estandarizado de tal forma que dispongamos de un sistema y unas condiciones técnicas normalizadas de muestreo; hay que determinar un sistema de muestreo. Antes de comenzar a definir el sistema de muestreo vamos a definir una serie de conceptos;
1 – Muestra Representativa: cantidad de concentrado que representa una masa de mayor cantidad de concentrado con precisión y sesgo dentro de unos límites aceptables.
2 – Lote: cantidad de concentrado a ser muestreado.
3 – Muestra del Lote: cantidad de concentrado tomado de un lote.
4 – Sublote: partes subdivididas de un lote que se procesan por separado, produciendo cada una de ellas una submuestra.
5 – Incremento: cantidad de concentrado tomado por un dispositivo de muestreo en una operación.
La regla básica para que un método de muestreo sea correcto es que la probabilidad de que todos los incrementos de la partida de concentrado a muestrear tengan la misma probabilidad de ser tomados e incluidos en la muestra. Cualquier desviación nos producirá un sesgo en la muestra tomada.
Por este motivo se debe de definir el muestreo de forma sistemática en base a la determinación de sublotes y lotes en función de su masa;
- Definir el número necesario de incrementos primarios sobre una base uniforme de tonelaje en todo el lote a muestrear.
- Tomar incrementos de masa casi uniformes de cada intervalo de tonelaje.
Consideramos la masa de la muestra uniforme si el coeficiente de variación de las masas es del 20% o menor.
Los métodos de muestreo, incluyendo el procesado de muestras van a depender del esquema de muestreo y de los pasos necesarios que se deben de aplicar para evitar errores sistemáticos.
El objetivo final de muestreo será preparar unas muestras de calidad/ensayo suficientemente representativas del lote para determinar sus características.
Establecemos un sistema de muestreo;
· Identificamos las características del material a muestrear y definimos la masa de los sublote y de los lotes.
· En base al tamaño de partículas del concentrado definimos la apertura del instrumento de muestreo.
· Se selecciona el número de incrementos a tomar por cada sublote/lote.
· Determinamos la masa mínima de un incremento primario.
· Determinamos el intervalo de muestreo aleatorio estratificado dentro de intervalos de masa fija.
· Tomar incrementos en los intervalos determinados para cada etapa durante todo el periodo de manipulación del lote.
· Combinar los incrementos primarios de los sublotes/lotes. El objetivo de establecer y ejecutar un método correcto de muestreo para cada tipo de material no es otro que minimizar la variabilidad, ya que todos los errores en el muestreo incrementan la variabilidad. De aquí la importancia de realizar la toma de muestras de cada sublote/lote siguiendo siempre el mismo método de toma de muestras. Los errores en la toma y posterior preparación de muestras suelen ser los responsables de los grandes sesgos de los sistemas de muestreo.
MÉTODO DE MUESTREO A LA CARGA/DESCARGA DE CAMIONES
1 – Partidas que van a someterse a muestreo
Previamente a la realización del muestreo, las remesas deberán ser identificadas por el equipo de muestreadores.
En el caso de observarse grandes variaciones en la humedad o en la granulometría dentro del mismo embarque, el muestreo se realizará por separado.
Se deberá proveer de los correspondientes certificados de peso, listas de pesos y análisis, en los cuales deberá estar especificada la granulometría del mismo.
En el lugar de almacenaje, los concentrados deberán estar debidamente identificados para poder asegurar que los resultados, se corresponden con el concentrado muestreado.
2 – Muestreo de concentrados que son transportados por camión.
2.1 – Descarga
Se utiliza una lanza/sonda toma muestras con longitud igual o superior a la altura de la pila descargada del camión. Visualmente se determina un plano de apilamiento que se divide en segmentos que contengan masas de concentrado aproximadamente iguales; y se toman muestras con la sonda. Un incremento por cada segmento del plano de apilamiento. La lanza debe de introducirse hasta el fondo de la pila y hay que asegurarse que no se pierda muestra al sacar la lanza de la pila.
Se constituye la muestra de cada sublote combinando los incrementos tomados del sublote en la etapa determinada de toma de muestras.
En nuestro caso determinamos lotes de 600 Tm para calidad con 3 sublotes de 200 Tm para determinar humedad.
La toma de muestras se realiza después de descargado cada camión con sonda de 2” de diámetro y 1,2 mts de longitud.
Las muestras se depositarán en bolsas o cubos perfectamente cerrados para evitar pérdidas de humedad.
Las muestras compuestas tomadas de cada 7/8 camiones, 200 Tm aprox., componen un sublote para humedad, se homogenizarán en el interior de la bolsa y se reducen a 3 kilos aproximadamente, por método de incrementos hasta obtener dos kilos de muestra que se depositaran en dos bandejas de 1 kilo cada una para determinar humedad. La muestra seca de cada sublote se reserva perfectamente identificada hasta completar el lote correspondiente.
2.2 – Carga
Se realizará la misma distribución de lotes y sublotes que a la descarga.
Se tomará la muestra durante el proceso de carga de cada camión.
Se tomarán tres incrementos de cada palada cargada al camión con sonda, de los dos extremos y centro de la pala de la máquina; tomándose 12/15 de aprox. 1,2/1,4 kilos cada uno, de cada camión.
Las muestras se depositarán en bolsas o cubos perfectamente cerrados para evitar pérdidas de humedad.
Las muestras compuestas tomadas de cada 7/8 camiones, 200 Tm aprox., componen un sublote para humedad, se homogeneizarán en el interior de la bolsa y se reducen a 3 kilos aproximadamente, por método de incrementos hasta obtener dos kilos de muestra que se depositaran en dos bandejas de 1 kilo cada una para determinar humedad. La muestra seca de cada sublote se reserva perfectamente identificada hasta completar el lote correspondiente.
3 – Muestreo de concentrados previamente apilados y dispuestos para la carga.
En este caso el muestreo se realiza fraccionando la pila/pilas de concentrados a embarcar en porciones de 250 Tm aproximadamente. Se toman incrementos por cada m2 de superficie y se abren catas por medio de pala mecánica de carga frontal, hasta alcanzar en profundidad la mitad de la pila.
Peso medio de muestra por incremento: 0,8 kg.
Peso medio de muestra bruta obtenida por fracción de 250 Tm debe de ser aproximadamente de 100 kilos.
4 – Método de Incrementos (reducción de muestras manual)
Depositar la muestra sobre una superficie lisa y limpia en forma de un rectángulo de espesor uniforme

Marcar una matriz en la muestra extendida que comprenda 10 o 20 partes.

Recoger un incremento de masa aproximadamente igual de cada parte de la matriz con una pala.


Insertar una placa de impacto vertical a través del concentrado hasta que toque la superficie, introducir la pala horizontalmente hasta que el extremo abierto toque la placa. Levantar la pala y la placa de manera que se evite la caída del concentrado.
Este método es adecuado para la reducción de muestras para humedad y para análisis químicos.

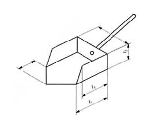
| Tamaño máximo nominal del concentrado | Dimensiones mínimas mm | Volumen mínimo del incremento ml | |||
| mm | l1 | l2 | l3 | l4 | |
| 31,5 | 90 | 50 | 80 | 40 | 380 |
| 22,4 | 80 | 45 | 70 | 35 | 270 |
| 16,0 | 70 | 40 | 60 | 30 | 180 |
| </= 10,0 | 60 | 35 | 50 | 25 | 120 |
5 – Método para garantizar la rastreabilidad de las submuestras o incrementos y de las muestras representativas.
Las muestras una vez reducidas se guardan por lote, correctamente identificadas, tanto para la determinación de la humedad como de la calidad. De cada lote se guarda una muestra en estado natural para su posterior comprobación si fuera necesario.
El procedimiento de muestreo interno debe ser verificado una vez al año, en el caso de que hubiera modificación alguna de este procedimiento seria notificado a todas las partes implicadas y/o afectadas.
DETERMINACIÓN DE HUMEDAD
1 – Descripción del método de ensayo.
Las muestras de concentrados de cobre se secan en estufas de secado a 105ºC (±5ºC) hasta peso constante.
Una vez realizada la toma de muestras, estas se depositan en bandejas. Previamente se registra el peso de cada bandeja y se deposita el material extendiéndolo en la bandeja de forma que no supere los 3 cm de altura.
Se pesa de nuevo la bandeja con el material y se registra el peso. Las bandejas se introducen en las estufas por un tiempo mínimo de 8 horas y máximo de 20 horas. Por experiencias previas con el material se ha calculado un tiempo medio de secado de 8 a 10 horas. A partir de este tiempo se pesan las bandejas y se registra el peso bruto seco, se vuelven a introducir en la estufa durante una hora y se pesan de nuevo. Cuando ya no hay variación de peso bruto seco, se pesan las bandejas y se registra el peso de las mismas.
2 – Descripción del método de ensayo para determinar la aceptabilidad de las partidas.
Las humedades de cada sublote se realizan por duplicado. Si los resultados arrojan variaciones superiores a un 0,20 % entre ambas replicas, se comprueban las humedades de las muestras de reserva.
3 – Control interno para garantizar que el procedimiento se aplica correctamente.
Se preparan muestras del composite del total del embarque, se calcula su humedad que debe estar acorde con las humedades ponderadas de los sublotes con una variación inferior a medio punto.
PREPARACIÓN DE MUESTRAS DE CALIDAD
1 – Constitución de la muestra del lote, método de mezclado – Se mezclarán las dos bandejas de material seco de cada sublote, y posteriormente se mezclarán de nuevo las muestras de los tres sublotes que componen el lote.
La precisión de la división se puede mejorar mediante el mezclado exhaustivo de la muestra antes de la división.
El mezclado manual se hace mediante el uso de bandejas de mezcla, transfiriendo las muestras de una bandeja a la otra durante un mínimo de 6 veces.
2 – División de la muestra – Se realiza el mismo proceso que al reducir la muestra bruta, reducción por el método de incrementos.
3 – Preparación de la muestra de calidad – Una vez mezcladas y reducidas las muestras de cada lote, éstas se pulverizan en un molino de anillos a 100 micras. Es importante no moler el material más de 15/20 segundos cada vez para evitar calentamientos y posibles oxidaciones del material.
Las muestras pulverizadas se dividen utilizando un divisor rotativo y se embolsan en sobres de aluminio correctamente identificados.
NORMAS INTERNACIONALES DE DETERMINACION DE HUMEDAD UTILIZADAS EN EL PROCESO.
ISO 12743:2006 – Copper, lead, zinc and nickel concentrates – Sampling procedures for determination of metal and moisture content.
– ISO 10251:2006 – Copper, lead, zinc and nickel concentrates – Determination of mqass loss of bulk material on drying.
